公眾號平臺
找供應商
找產品
我要詢價
我要求購
我要開店
發布供應
我要報價
廠家推介
招標采購
企業名片
二手設備
技術服務
30分鐘
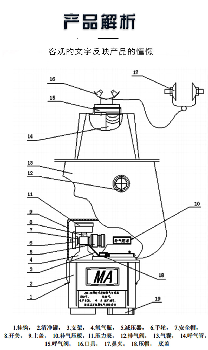
用于具有甲烷或者煤塵報價危險的煤礦及非煤礦山井下巷道,硐室,工作面使用。
JCB4便攜式甲烷檢測報警儀 智能型可燃氣體檢測儀
弗勒克進口截齒 30系列 掘進機截齒
底閥 液壓支架A類閥 興隆液壓底閥
DGS18/127(B)礦用隔爆型LED巷道燈
破碎機耐磨錘頭 錘式破碎機備件
錘頭
液壓支架閥 液壓支架雙向鎖 興隆支架閥 雙向鎖
雙向鎖
礦工安全帽 礦用帽 防砸帽頭部防護帽
安全帽
力士樂柱塞馬達 斜軸柱塞馬達 柱塞馬達 軸向柱塞馬達
柱塞馬達
zyx30礦井自救器 正安防爆 便捷式壓縮氧自救器 廠家現貨供應
zyx30
煤機行業訂單回暖,成套裝備中標項目密集落地
官方發布!一季度煤礦智能化改造數據出爐
4 月下旬主產區煤價穩中走強,非電需求持續復蘇
青海省能源局發布2025年煤礦產能情況
我國已建成省級以上綠色礦山5500余家
中國煤炭報:山西穩步提升煤炭供給韌性
春和景明,盛會啟幕。太原國際煤機展作為北方煤炭行業核心交流平臺,匯聚全產業鏈資源,凝聚行業發展合力。
山西省沁源縣王和區塊煤炭探礦權掛牌出讓補充公告
400-678-5280
買賣煤機配件·就上找煤機網
電子郵箱:kf@zhaomeiji.com
掃一掃關注公眾號
網站導航| 煤機配件市場| 煤機企業黃頁| 煤機企業名錄| 煤機配件報價| 煤機行業資訊| 煤機設備百科| 煤機求購信息| 煤機供應信息| 煤機行業標簽| 用戶反饋| 幫助中心
Copyright 2020
找煤機網
. All Rights Reserved
30分鐘